Полностью автоматическое дозирующее устройство
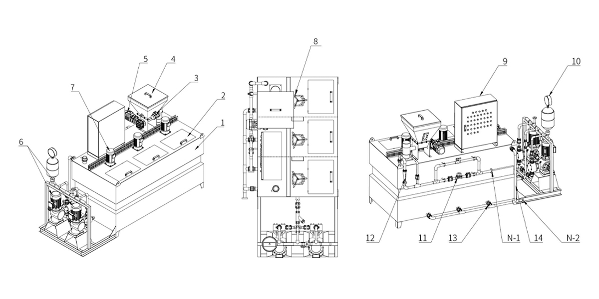
Полностью автоматическая система дозирования химикатов OJY широко используется в качестве вспомогательного оборудования при очистке городских вод и переработке осадка сточных вод. Он непрерывно и эффективно осуществляет растворение и смешивание полимеров для получения однородного активного полимерного раствора.
English
русский 












