Машина для просеивания сетчатых прутков
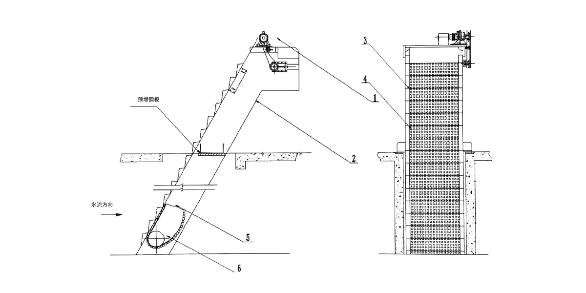
Сетчатый ступенчатый экран представляет собой специализированное устройство для очистки воды, способное непрерывно и автоматически улавливать и удалять из жидкостей различные виды мусора. Он находит широкое применение в очистке городских сточных вод и водоснабжении, а также служит в качестве первичного сортировочного оборудования в процессах очистки сточных вод в таких секторах, как текстильная и пищевая промышленность.
Данное оборудование является одной из машин для осушения с сетчатым фильтром, самостоятельно разработанных нашей компанией на основе передовой импортной продукции и введенных в эксплуатацию на нескольких очистных сооружениях.
English
русский 










